华为申请注册MindIE系列商标
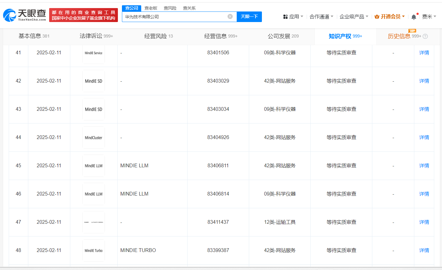
天眼查知识产权信息显示,近日,华为技术有限公司申请注册“MindIE”“MindIE Service”“MindIE LLM”等系列商标,国际分类为科学仪器、网站服务,当前商标状态均为等待实质审查。
据悉,MindIE是华为推出的高性能深度学习推理框架,专门用于昇腾硬件上的运行加速、调试调优、快速迁移部署。



华为申请注册昇腾推理引擎系列商标
文章AI导读
一键萃取文章精髓,核心观点即刻呈现

# 梳理该事件的完整脉络
# 该文章有哪些有意思的观点或数据
# 大家对该事件的态度表现如何?
华为申请注册MindIE系列商标
天眼查知识产权信息显示,近日,华为技术有限公司申请注册“MindIE”“MindIE Service”“MindIE LLM”等系列商标,国际分类为科学仪器、网站服务,当前商标状态均为等待实质审查。
据悉,MindIE是华为推出的高性能深度学习推理框架,专门用于昇腾硬件上的运行加速、调试调优、快速迁移部署。



陀螺科技现已开放专栏入驻,详情请见入驻指南: https://www.tuoluo.cn/article/detail-27547.html
免责声明:
1、本文版权归原作者所有,仅代表作者本人观点,不代表陀螺科技观点或立场。
2、如发现文章、图片等侵权行为,侵权责任将由作者本人承担。